自貢
產品&服務
全部分類
瀏覽量:
1000
ZHH混流泵
零售價
0.0
元
市場價
0.0
元
瀏覽量:
1000
產品編號
產品介紹:
水力模型經過CFD優化設計,具有性能穩定、高效節能、運行成本低等優勢。在泵口徑Φ200mm~Φ900mm之間,具備完整的系列規格,可滿足不同裝置能力的需要。目前仍在工業運行的900ZHH-45型泵,也是國內磷銨化工混流泵中的較大口徑產品。適用于磷銨及鉀肥系統料漿循環,是其較為理想的用泵。也可用在類似工況的其它化工裝置系統中,使腐蝕性懸浮介質實現大流量強制循環。
數量
-
+
庫存:
產品參數
參數
產品特性
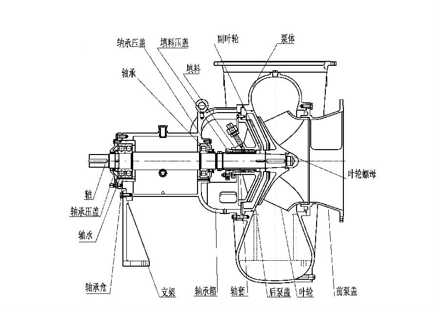
產品結構
產品材料
產品配置
適用工況
型譜表
■流量:Q= 200~8300(m3/h)
■揚程:H= 5~19 (m)
■轉速:n=490~1450rpm
■比重:γ ≤1.5
■溫度:T=0~105℃
■口徑:200~900mm
掃二維碼用手機看
未找到相應參數組,請于后臺屬性模板中添加
上一個
ZLH型軸流泵
公司地址:四川省自貢市高新工業園區金川路66號
銷售熱線:+86 18782951805
售后服務:+86 0813-8260772
電子郵箱:zgpump@163.net
Copyright ? 2016-2021 http://www.2izp.cn/ All rights reserved
蜀ICP備19029131號
微信公眾號
— — — — — — — — — — — — —
掃一掃,探索更多





15881306231
zgpump@163.net
QQ咨詢